Suzuki
Browse New Models
Shop In-Stock
Yamaha
Browse New Models
Shop In-Stock
CFMOTO
Browse New Models
Shop In-Stock
SSR Motorsports
Browse New Models
Shop In-Stock
Wolf Brand Scooters
Browse New Models
Shop In-Stock
Hammerhead Off-Road
Browse New Models
Shop In-Stock
3211 Camden Road
,
Pine Bluff, AR 71603
Phone:
833-617-7001
Please Follow Us:
Toggle navigation
Pine Bluff, AR
Home
Brands
Showroom
Manufacturer Models
Suzuki
Yamaha
CF Moto
Toro
Hammerhead
Tohatsu Outboards
SSR Motorsports
Benelli
Wolf Brand Scooters
OEM Promotions
Inventory
All Inventory In Stock
New Inventory In Stock
Used Inventory
Value Your Trade-In
Request a Model
Secure Financing
Parts
Parts Department
Parts Look-Up
Request Parts
Service
Service Department
Warranty & Recall Look-Up
Financing
About
Our Dealership
Our History
Reviews
Customer Survey
Newsletter Sign-Up
Happy Customers
Location & Hours
Contact
Before you go...
Contact Us
Country (optional)
Please Select
American Samoa
Anguilla
Antigua And Barbuda
Argentina
Aruba
Australia
Austria
Bahamas
Barbados
Belgium
Belize
Bermuda
Bolivia
Bonaire, Sint Eustatius and Saba
Bouvet Island
Brazil
British Indian Ocean Territory
Bulgaria
Canada
Cape Verde
Cayman Islands
Chile
Christmas Island
Cocos (Keeling) Islands
Colombia
Cook Islands
Costa Rica
Cuba
Curacao
Cyprus
Dominica
Dominican Republic
Ecuador
El Salvador
Faeroe Islands
Falkland Islands (Malvinas)
Fiji
France
French Guiana
French Polynesia
Germany
Gibraltar
Greece
Grenada
Guadeloupe
Guam
Guatemala
Guernsey
Haiti
Heard Island And Mcdonald Islands
Honduras
Iceland
India
Ireland
Isle Of Man
Italy
Jamaica
Jersey
Madagascar
Malaysia
Maldives
Malta
Marshall Islands
Martinique
Mexico
Monaco
Montenegro
Montserrat
Morocco
Mozambique
Netherlands
New Zealand
Nicaragua
Nigeria
Norfolk Island
Northern Mariana Islands
Norway
Palau
Panama
Papua New Guinea
Paraguay
Peru
Philippines
Portugal
Puerto Rico
Réunion
Russian Federation
Saint Barthelemy
Saint Helena
Saint Kitts And Nevis
Saint Lucia
Saint Martin (French part)
Saint Pierre And Miquelon
Saint Vincent And The Grenadines
Samoa
San Marino
Sao Tome And Principe
Saudi Arabia
Seychelles
Singapore
Sint Maarten (Dutch part)
Solomon Islands
South Georgia And The South Sandwich Islands
South Sudan
Spain
Sweden
Switzerland
Thailand
Togo
Trinidad And Tobago
Turkey
Turks And Caicos Islands
United Kingdom
United States
United States Minor Outlying Islands
Uruguay
Venezuela
Virgin Islands, British
Virgin Islands, U.S.
Subscribe to Newsletter
Captcha is required.
By pressing SUBMIT, you agree that DX1, LLC and Cycle and Marine Supercenter may call/text you at the number provided, for either informational or marketing purposes, using an automatic telephone dialing system or pre-recorded/artificial voices. Msg/data rates may apply. You don’t need to consent as a condition of any purchase & you may revoke your consent at any time. You also agree to our
Privacy Statement
&
Terms of Use
.
Fiche | Parts Diagrams
Home
›
Parts
›
Parts Look-Up
Search by :
Part / Desc
VIN
Please Select
CFMOTO
Suzuki
Yamaha
*Please enter at least 3 characters
SEARCH
Manufacturer
Yamaha
Generators
2000
G9C4-0400126~_YP30TA Q9C5-500201~ YP40TA Q9C6-6001 YP20TA/YP40TA/YP30TA
VIEW WISH LIST
Select a Section
Show/Hide
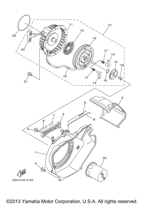
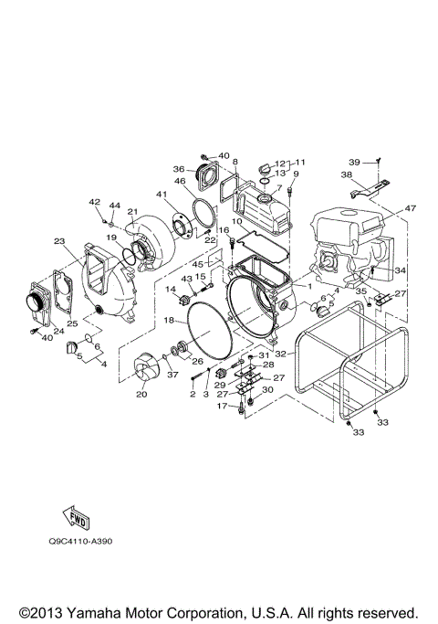
AIR SHROUD STARTER 1 YP20TA
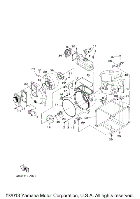
AIR SHROUD STARTER 2 YP30TA
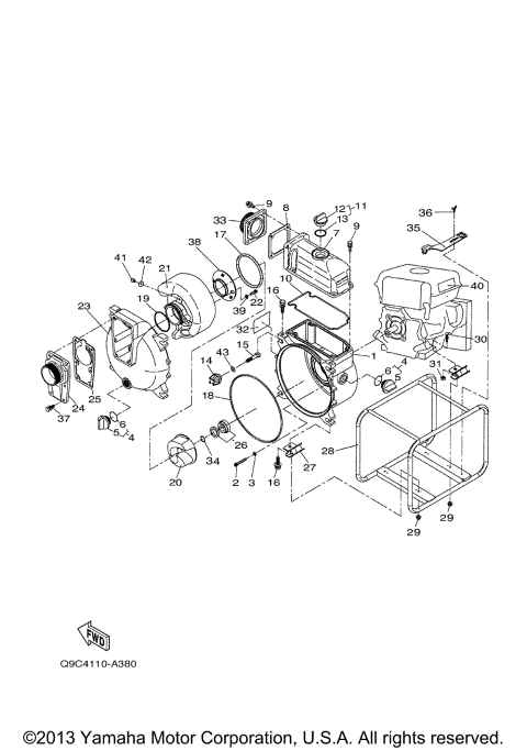
AIR SHROUD STARTER 3 YP40TA
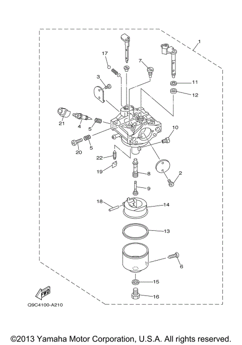
CABURETOR 1 YP20TA
CABURETOR 2 YP30TA
CABURETOR 3 YP40TA
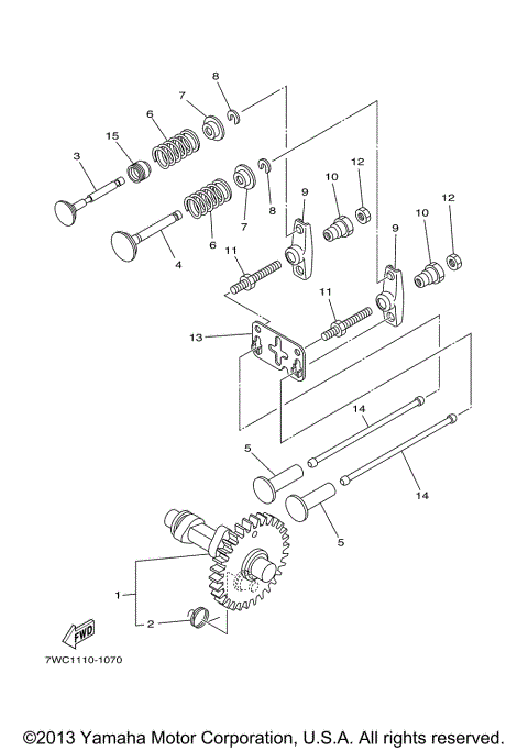
CAMSHAFT VALVE 1 YP20TA
CAMSHAFT VALVE 2 YP30TA
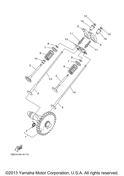
CAMSHAFT VALVE 3 YP40TA
CRANKCASE 1 YP20TA
CRANKCASE 2 YP30TA
CRANKCASE 3 YP40TA
CRANKSHAFT PISTON 1 YP20TA
CRANKSHAFT PISTON 2 YP30TA
CRANKSHAFT PISTON 3 YP40TA
CYLINDER HEAD 1 YP20TA
CYLINDER HEAD 2 YP30TA
CYLINDER HEAD 3 YP40TA
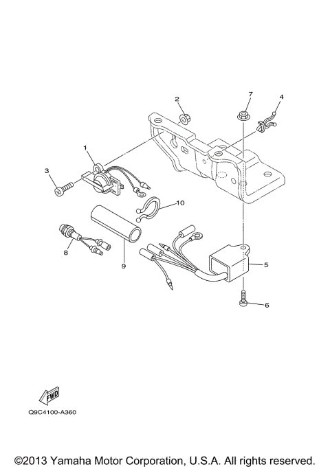
ELECTRICAL 1 YP20TA
ELECTRICAL 2 YP30TA
ELECTRICAL 3 YP40TA
EXHAUST 1 YP20TA
EXHAUST 2 YP30TA
EXHAUST 3 YP40TA
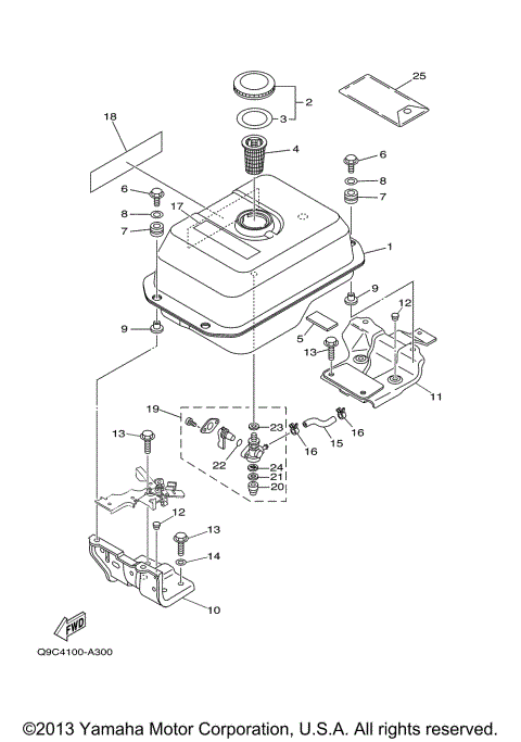
FUEL TANK 1 YP20TA
FUEL TANK 2 YP30TA
FUEL TANK 3 YP40TA
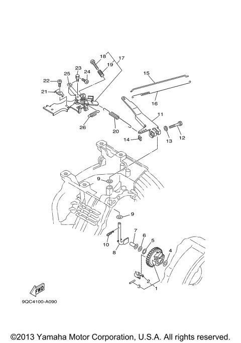
GOVERNOR 1 YP20TA
GOVERNOR 2 YP30TA
GOVERNOR 3 YP40TA
INTAKE 1 YP20TA
INTAKE 2 YP30TA
INTAKE 3 YP40TA
TCI MAGNETO 1 YP20TA
TCI MAGNETO 2 YP30TA
TCI MAGNETO 3 YP40TA
WATER PUMP 1 YP20TA
WATER PUMP 2 YP30TA
WATER PUMP 3 YP40TA
AIR SHROUD STARTER 1 YP20TA
AIR SHROUD STARTER 2 YP30TA
AIR SHROUD STARTER 3 YP40TA
CABURETOR 1 YP20TA
CABURETOR 2 YP30TA
CABURETOR 3 YP40TA
CAMSHAFT VALVE 1 YP20TA
CAMSHAFT VALVE 2 YP30TA
CAMSHAFT VALVE 3 YP40TA
CRANKCASE 1 YP20TA
CRANKCASE 2 YP30TA
CRANKCASE 3 YP40TA
CRANKSHAFT PISTON 1 YP20TA
CRANKSHAFT PISTON 2 YP30TA
CRANKSHAFT PISTON 3 YP40TA
CYLINDER HEAD 1 YP20TA
CYLINDER HEAD 2 YP30TA
CYLINDER HEAD 3 YP40TA
ELECTRICAL 1 YP20TA
ELECTRICAL 2 YP30TA
ELECTRICAL 3 YP40TA
EXHAUST 1 YP20TA
EXHAUST 2 YP30TA
EXHAUST 3 YP40TA
FUEL TANK 1 YP20TA
FUEL TANK 2 YP30TA
FUEL TANK 3 YP40TA
GOVERNOR 1 YP20TA
GOVERNOR 2 YP30TA
GOVERNOR 3 YP40TA
INTAKE 1 YP20TA
INTAKE 2 YP30TA
INTAKE 3 YP40TA
TCI MAGNETO 1 YP20TA
TCI MAGNETO 2 YP30TA
TCI MAGNETO 3 YP40TA
WATER PUMP 1 YP20TA
WATER PUMP 2 YP30TA
WATER PUMP 3 YP40TA
VIEW WISH LIST